44,8950$% 0.23
52,8913€% -0.09
60,8054£% 0.01
6.965,35%1,07
11.328,00%1,05
45.207,00%1,05
4.829,68%0,85
14.587,93%2,72
02:00
![]()
Apple, katlanabilir cihaz teknolojisine yönelik çalışmalarını hızlandırıyor. Şirket, yeni bir menteşe tasarımı için aldığı patentle dikkatleri üzerine çekti. Bu tasarım, gelecekte iPhone, iPad ve MacBook gibi ürünlerde kullanılabilir.

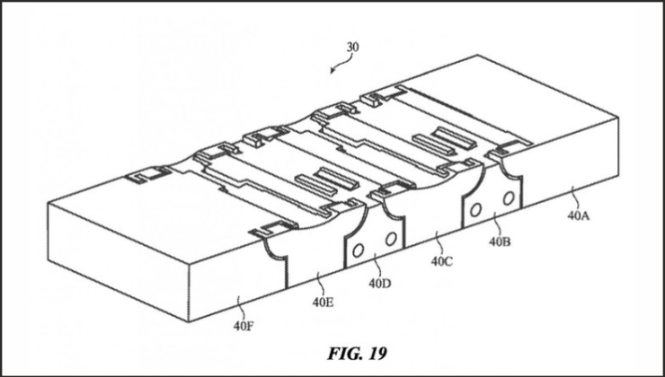
Apple’ın aldığı patent, birbiriyle uyumlu hareket eden dişli ve parçalardan oluşan yenilikçi bir menteşe sistemi içeriyor. Özellikle hilal şekline sahip parçalar, menteşe hareketinin daha esnek ve yumuşak olmasını sağlıyor. Bu tasarım sayesinde katlanma sırasında cihazın zarar görmesi veya katlanma izinin belirgin hale gelmesi önlenebilir.
Patent detaylarına göre, bu menteşe tasarımı sadece telefon ve tabletlerle sınırlı değil. Akıllı saatler, dizüstü bilgisayarlar ve diğer giyilebilir teknolojilerde de kullanılabilecek kadar esnek bir yapıya sahip. Ancak, patentin önceki menteşe tasarımlarının geliştirilmiş bir versiyonu olup olmadığı henüz netlik kazanmış değil.

Apple, yıllardır birçok katlanabilir cihaz patenti aldı ancak henüz bu ürünlerden birini piyasaya sürmedi. Şirketin katlanabilir cihazlarda özellikle menteşe dayanıklılığı ve katlanma izini ortadan kaldırma konularına odaklandığı biliniyor. İlk katlanabilir iPhone veya iPad’in ne zaman tanıtılacağı ise şimdilik bir sır.
Katlanabilir cihazların teknoloji dünyasında yeni bir standart haline gelmesiyle Apple’ın bu alanda nasıl bir adım atacağı merak konusu. Yeni menteşe tasarımı, Apple’ın bu pazara güçlü bir giriş yapma niyetinde olduğunu gösteriyor.
Asgari Ücret Tespit Komisyonu toplandı: yeni ücret ne olacak?
Veri politikasındaki amaçlarla sınırlı ve mevzuata uygun şekilde çerez konumlandırmaktayız. Detaylar için veri politikamızı inceleyebilirsiniz.